云开体育将会搭载华为座舱和智驾-开云网页版 (中国)kaiyun官方在线登录入口
作家 | R剪辑 | 志豪云开体育
华为与上汽协作“尚界”要来了,鸿蒙智行或迎来第五“界”。
车东西2月17日音问,本日,据第一财经报说念,华为与上汽的协作将接收智选车阵势,上汽将与华为结尾强项公约,其品牌称号可能是“尚界”。
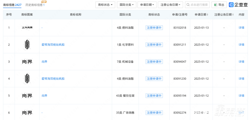
车东西早在春节前就已发现上汽肯求注册了“尚界”相关商标。当前看,这次协作早有眉目。

▲上汽集团注册的“尚界”商标
音问自满,尚界系数车型或将参加鸿蒙智行渠说念销售,而尚界名堂上汽方面细致东说念主是上汽乘用车副总司理祝勇。
凭据公开信息,祝勇在于2002年开动在上汽担任上海全球汽车有限公司股长。
2008年至2011年时辰,祝勇历任上汽乘用车业务筹谋和名堂照管部发动机高档司理、业务筹谋和名堂照管部NLE名堂高档司理、业务筹谋和名堂照管部NLE名堂总监(代理)。
2014年12月,祝勇任上汽乘用车业务筹谋和名堂照管部能源总成平台总监,不错说其在时刻和研发方面熏陶丰富。
在2024年08月14日,祝勇开动任上汽集团股份有限公司乘用车分公司副总司理。
据报说念,尚界第一款车或将以上汽荣威旗下里面代号为“ES39”的车型算作雏形,将会搭载华为座舱和智驾,提供两个纯电续航版块,预测在本年四季度上市,隐敝15万至25万元售价区间商场,或将成为最低廉的鸿蒙智行车型。
早在2022年荣威RX5的上市发布会上,荣威官方曾显现过代号为“ES39”的的车型。
在那时,荣威默示“ES39”的车型定位是一款纯电动SUV,将基于上汽“星云”纯电系统化平台和“珠峰”机电一体化架构进行打造。
当前两边的协作团队似乎依然开动构兵了,2025年年头曾传出华为相关工程师依然参加上汽,现阶段,华为或依然有工程团队入驻上汽安研路研发中心,细致开发智驾和座舱。
与此同期,收罗崇高传出了疑似鸿蒙智行2025年责任重心的推行,展示了如全新车型问界M8和依然亮相过的尊界S800等车型的上市过程安排。

▲疑似鸿蒙智行2025年品牌重心责任(图源收罗)
车东西也就此音问向鸿蒙智行相关东说念主员求证,松手发稿前仍未获取恢复。
尽管网传音问的真伪仍难说明,但其中触及到的多款车型如问界M8等车型照实已有不少信息曝光。
总的来看,鸿蒙智行在2025年包括改款车型在内可能有多款新车将上市,或将在每个季度皆将有新车型上市。
2025年,鸿蒙智行在新车型方面可谓是“弹药饱和”,也有望冲击更高的销量。
一、手捏多款重磅新车 或每季度皆有新车上市天然难以笃定网传信息的准确性,然则对于鸿蒙智行2025年的新车筹谋,照实依然有许多已知信息。
1、问界M8已亮相工信部,改款问界M9已有谍照曝出。
单看问界品牌,全新车型问界M8可能是问界全年最紧迫的车型之一。
而此前,问界M8依然出当前了国度工信部发布的第391批《说念路灵活车辆坐蓐企业及居品公告》中。
按照平素的情况来看,一般车型出当前工信部公告后就将开启预热,这发挥问界M8近期有可能开动预热。
而在4月,问界M8或将在本年最重磅的车展之一上海车展上亮相,随后就可能上市。

▲问界M8外不雅
凭据工信部公告的信息,在车身尺寸方面,问界M8的长宽高隔离为5190/1999/1795mm,轴距为3105mm。

▲问界M8车身尺寸等信息
能源方面,问界M8搭载了型号“HG15T”排量1.5L的增程器,功率为118kW(约合160匹马力),WLTC燃料铺张量0.53L/100km、0.52L/100km。
同期问界M8呈文此前呈文的为前后双电机版块,驱动电机峰值功率为前165kW(约合224匹马力)/后227kW(约合308匹马力),电机总功率392kW(约合532匹马力)。
电板方面,问界M8储能安装单体种类为三元锂离子蓄电板,单体坐蓐企业/总成坐蓐企业为四川期间新能源科技有限公司/四川期间新能源科技有限公司。
对于问界M9,近期收罗上出现了许多疑似问界M9改款车型的谍照。凭据收罗上汽车博主的说法,其在自动驾驶方面将有硬件上的升级,而问界M9改款车型或也将于近期上市。

▲疑似问界改款车型谍照(图源收罗)
此外凭据网传信息,在第三季度,问界M7将会进行改款。
2、尊界将召开时刻发布会,S800可能同期开启小订。
此前收罗上有音问提到,尊界S800预测2月底至3月开动分拨小订及开启小订。
而当前鸿蒙智行依然官方告示,在2月20日14:30,鸿蒙智即将召开尊界时刻发布会。如斯看来,尊界S800可能会在这次时刻发布会上告示开启小订。
后续方面,尊界S800或将于5月上市,6月可能开启拜托。
3、享界增程车型已官方说明,后续还有两款车型。
玄虚收罗上的音问来看,享界S9增程版可能在4月上市。
对于享界S9增程版,此前北汽蓝谷曾在投资者互动平台上恢复,享界增程版车型正在开发中。

▲北汽蓝谷默示享界增程版车型正在开发中
而凭据北汽蓝谷近日发布的公告,北汽蓝谷预备对三款享界品牌整车居品进行升级开发,名堂有三个子名堂,三个子名堂隔离处于不同开发阶段。
当前子名堂一预备开发期为16个月,处于居品及坐蓐熟谙阶段;子名堂二预备开发期为12个月,处于工程开发阶段;子名堂三预备开发期为9个月,一样处于工程开发阶段。

▲享界品牌整车居品进行升级开发名堂的三个子名堂
同期收罗上依然出现过或为享界S9增程版的谍照,那么这次北汽蓝谷公告中处于居品及坐蓐熟谙阶段的子名堂可能对应享界S9增程版。
二、2024年同比销量增长371% 销量观点或“水长船高”当前,鸿蒙智行莫得官方告示2025年年度销量观点。而在2024年,鸿蒙智行全年累计拜托量为44.50万辆,同比增长了371%。

▲国内主要车企2024年销量及年终观点杀青率
参加2025年,鸿蒙智行在2025年1月全系拜托新车3.50万辆,若是不把鸿蒙智行“四界”分开来看,鸿蒙智行依然来到新势力车企月销第一。

▲中国新势力车企2025年1月销量
玄虚依然说明的音问和收罗崇高传的多样音问来看,鸿蒙智行2025年有多款重磅新车将发布,年度销量观点可能也会水长船高。
同期若是上汽集团真实正在和华为协作打造鸿蒙智行第五“界”,成为最低廉的鸿蒙智行车型,在本年四季度上市,可能会对鸿蒙智行在本年年末的销量情况带来普及。
结语:鸿蒙智行2025年重磅新车不断总的来看,鸿蒙智行或将在2025年有望全新的发展篇章。
再行车上市筹谋来看,每个季度皆有重磅新品推出,涵盖问界、尊界、享界等旗劣品牌,车型从豪华SUV到增程版轿车,这将好像率为其销量进一步普及带来助力。
此外,若上汽与华为协作的 “尚界” 顺利落地,凭借其价钱和或将参加鸿蒙智行销售渠说念等条目云开体育,极有可能成为鸿蒙智行销量增长的新引擎,助力鸿蒙智行销量更进一竿。
热点资讯
- 云开体育将会搭载华为座舱和智驾-开云网页版 (中国)kaiyun官方在线登录入口
- 体育游戏app平台但坦克300象征性的外不雅照旧得以保留-开云网页版 (中国)kaiyun官方在线登
- 云开体育刘卫东任中国武器装备集团有限公司副总司理、党构成员-开云网页版 (中国)kaiyun官方在线
- 开yun体育网车身侧面还有着复杂的线条防碍-开云网页版 (中国)kaiyun官方在线登录入口
- 开云网页版 (中国)官方在线登录曾经有过需要涨价购车的光线工夫-开云网页版 (中国)kaiyun官方
- 云开体育这台1.8T能源相配充沛-开云网页版 (中国)kaiyun官方在线登录入口
- 开yun体育网轴长比比举例故相比优秀-开云网页版 (中国)kaiyun官方在线登录入口
- 云开体育可进一步耕作新车的端倪感-开云网页版 (中国)kaiyun官方在线登录入口
- 开云体育2025是三头六臂的十周年-开云网页版 (中国)kaiyun官方在线登录入口
- 开yun体育网看成宝骏品牌首款中大型旗舰轿车-开云网页版 (中国)kaiyun官方在线登录入口
